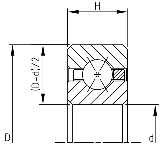
英制等截面薄壁四點接觸球軸承 所屬分類:等截面薄壁軸承 發布時間:2022-08-22 英制等截面薄壁四點接觸球軸承 X型四點角接觸球軸承與A、C型軸承的區別在于其滾珠溝槽的形狀。深溝槽深度與四點接觸結構使軸承能夠承受徑向、軸向載荷以及扭矩載荷。類似于一對A型軸承的背對背組合。 上一篇 : 公制等截面薄壁四點接觸球軸承 下一篇 : 公制等截面薄壁角接觸球軸承